ThermoKING Radiator

Mitsas radiator ThemoKING sizes

 

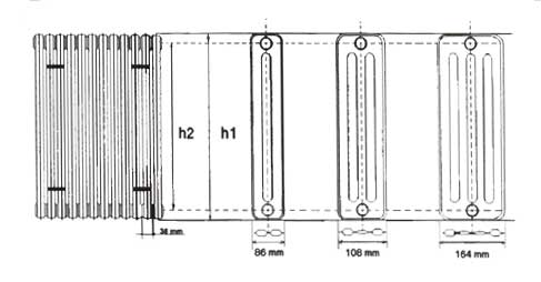
h1 (mm)
995
745
h2 (mm)
905
655

 

* Domestic radiators in different sizes and capacities:

- Lengths as h1 & h2.

- Fins from 4and up to 30.

- 400 Kcal/h and up to 5100 Kcal/h.

- Radiators built according to the customer requirement.

- Select your radiator

Home

Home